
一、
工字钢花车介绍
HC型工字钢滑车系列为起重机小车供电的一种导电形式,工字钢滑车由走轮、支架、托板组成,将软电缆固定在托板上,由牵引架与电缆滑车同步,从而实现小车供电目的。
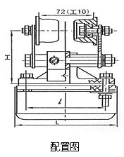
HC系列工字钢滑车分为中载荷型、重载荷型、和轻载荷型,工字钢滑车因此滑车走轮为Ф80、Ф63、Ф50的三种,承载能力≤50∽150kg,每类按托板层数分为单层、双层、三层,每类中有三种形式,工字钢滑车首端为电缆牵引车,终端为固定挂线架,中间为电缆滑车(见下图)。

二、说明
1、工字钢滑车固定挂线架安装好后,后边应挂一挡板。
2、调整牵引头,工字钢滑车使小车在整个行程中不碰牵引孔的上下边缘为好。
3、电缆长度为起重机跨度的1.2倍加8米。
4、调整牵引钢丝绳,工字钢滑车使其长度小于同节电缆长度,运行时由牵引钢丝绳受力。
5、工字钢滑车当电缆直径不等时,电缆夹间应垫以软橡皮,
使其外径基本相同,以便将电缆夹紧。
6、布电缆时,应考虑两面电缆托板受力均衡。
7、当电缆滑车为二层,三层时,要求相同。
8、工字钢滑车装置上的双垫圈为调整垫圈,当导轨不合适时,把垫圈放在固定板的内侧,以调整轨距的宽窄,出厂时按导轨为I
100*68*4.5、I 120*74*5、I140*80*5、I 160*88*6制造。非标滑车按图纸加工制作。 |